Обозначения
Каждый элемент системы отопления, схемы имеет свой знак маркировки.
- П – приточные системы, установки систем, вытяжные системы;
- В – установки систем;
- У – занавесы воздушного типа;
- А – отопительные агрегаты;
Это были маркировки, которые касались системы отопления с механическим побуждением.
Для отопительной системы с принудительным побуждением характерны другие условные обозначения на чертежах отопления:
- Ст – стояк отопительной системы;
- ГСт – главный стояк отопительной системы;
- ГВ – ветвь горизонтальная;
- К – компенсатор.
Чертежи отопления частного дома таких маркировок представлены на рисунке 15.4.1. На плане-схеме установки отопительных систем изображены точками диаметров 1-2 мм.
Разрезы систем отопления и их планы выполняются в масштабах, представленных ниже:
Для вентиляционно-отопительных установок:
- Схема-размещение, план – 1:400, 1:800;
- Разрезы и планы – 1:50, 1:100;
Для систем вентиляции и отопительных систем:
- Разрезы и планы – 1:100, 1:200;
- Фрагменты разрезов и планов – 1:50, 1:100;
- Узлы – 1:20, 1:50;
- Схемы – 1:100, 1:200;
Те же данные, но в изображении детального типа – 1:2, 1:5, 1:10.
Техническое обслуживание систем отопления предусматривает, что на разрезах и планах отопительных систем указываются такие показатели, как: разбивочные оси здания и дистанция между ними, отметки главных площадок и чистых полов на этажах, сечения трубопроводов и воздуховодов, количество радиаторных секций, длина и количество труб ребристого типа, и другие детали.

Наименование планов в таком чертеже, как аксонометрическая схема системы отопления, делают по типу «План на отм. 3.000», «План 3 — 7 этажей». Если на разных уровнях, но в пределах одного и того же этажа будут выполнены два или более плана, то их необходимо именовать следующим образом: «План 2—2», «План 3—3».
Если у трубопроводов слишком большая протяженность или у трубопроводов, или у воздуховодов слишком сложное расположение, то изображаться на схеме они будут с разрывами. Пример такой схемы – рисунок 15.4.8.
Пример оформления схем отопительной системы будет представлен на рисунке 15.4.8, а на рисунке 15.4.9 будет представлен пример схемы установок системы теплоснабжения.
Если здание жилого плана, то обычно принципиальная схема отопления выполняется только для его подземной части. Для части здания надземного типа выдается принципиальная схема системы отопления стояков и, если нужно, разводка по чердаку здания.
Принципиальная схема отопления
На рисунках 15.4.2 – 15.4.4 показаны количество секций и размеры диаметра для расчета температуры воздуха для зданий, которые имеют два этажа и более.
Чертеж участка отопления и системы вентиляции
Чертеж системы отопления частного дома и установок для теплоснабжения обычно изображает такие детали, как:
- аксонометрия системы отопления узлов, помогает управлять отопительной системой и установками для теплоснабжения. Данная схема указана на рисунке 15.4.10.
- к схеме узла можно указать ту или иную спецификацию. В названии узлов управления может быть представлен номер узла. Узлы схем отопительной системы и схем теплоснабжения установок представлены на рисунке 15.4.11.
На схемах систем кондиционирования и вентиляционных систем указываются такие данные, как:
- Воздуховоды, значения их диаметров, количество воздуха, который проходит через них и другое;
- Лючки, которые необходимы, чтобы выявить параметры воздуха и уровень чистки воздуходувов. Также на схемах указываются марки лючков.
Также чертеж системы отопления должен включать все данные, которые нужны во время выполнения различных работ.
Чертеж -схема системы кондиционирования и вентиляции
Если в здании установлены сразу две отопительные системы, то в названии схемы будет указан номер отопительной системы. На рисунках 15.4.14 и 15.4.15 – описание, примеры оформления таких систем как системы вентиляции.
Чертеж основных узлов вентиляции
Исполнительная схема отопления и чертежи, в которых указываются правила установки отопительных систем, представляют собой не только планы установок, но и их разрезы. Эти разрезки выполняются на схеме в упрощенном варианте, без лишних усложняющих деталей. На рисунке 15.4.17 представлена схема с общим видом.
https://youtube.com/watch?v=Ef4t5uo2KAk
Схемы отопления
При проектировании системы отопления квартиры (дома) выполняются аксонометрическая и монтажная схемы отопления согласно плану отопления. К монтажной схеме отопления делается спецификация по материалам. Итогом проекта отопления является смета работ. Рассмотрим подробнее каждую схему отоплении для коллекторной разводки труб отопления.
План отопления квартиры
На плане отопления, в условных обозначениях, показывается расположение стояков отопления, места установки коллекторов и радиаторов отопления и направления прямого и обратного трубопровода от коллектора до радиаторов. План выполнен для централизованного отопления.

Аксонометрическая схема
На аксонометрической схеме показывается общая схема отопления в аксонометрической проекции с показом отдельных принципиальных узлов: коллекторов отопления, подключение радиаторов.

Монтажная схема
На монтажной схеме показывается также проекционное отображение отопления с показом принципиальных узло, как и в схеме аксонометрической. Только на схеме дополнительно показаны устройства монтажа: соединители обжимные, соеденители коллекторные. Также диаметры труб отопления. То есть все, что необходимо для непосредственного выполнения монтажа отопления.
Узел «Б», схема подключения радиатора отопления

Obotoplenii.ru
- Двухтрубная схема отопления: вертикальная, горизонтальная
- Насосная схема отопления
- Однотрубная схема отопления: особенности, проблемы
- Принципиальная схема топочной — пример рабочего чертежа топочной с газовым настенным котлом
- Схема отопления с естественной циркуляцией
- Схема отопления, коллекторная разводка труб
- Схемы монтажа котлов Галан от производителя
- Упрощенный расчет системы отопления
Предпроектные предложения (ПП)
На стадии предпроектных предложений составляется исходно-разрешительная документация и разрабатываются соответствующие документы, которые проходят согласование в различных инстанциях.Разработка документацииРазработка документации на стадии предпроектных предложений включает в себя следующие позиции:
- общая пояснительная записка (содержит краткую характеристику состояния объекта, основные технико-экономические показатели и результаты расчетов экономической эффективности проектных решений, данные об объемах строительных и монтажных работ и др.);
- расчет нагрузок (определение тепловых нагрузок и основных нагрузок объекта для присоединения к сетям);
- принципиальные схемы инженерных систем (принципиальные решения по инженерному обеспечению – оборудованию системами вентиляции, кондиционирования, отопления, диспетчеризации, автоматизации и управлению инженерными системами);
- технологические решения (чертежи, планы, спецификация оборудования и материалов с привязкой и др.);
- инженерные системы и оборудование (обследование возможностей монтажа инженерных систем и оборудования на стадии строительства объекта, изменение качества инженерно-технического обеспечения при реконструкции объекта, замена сетей инженерно-технического обеспечения при капитальном ремонте объекта).
![]() |
Наружная канализация
Для обустройства внешней части канализационной системы также используются пластиковые трубы. Их прокладка осуществляется в траншею, глубина которой превышает глубину промерзания почвы (детальнее: «Устройство наружной канализации — варианты схемы монтажа»). Дно траншеи засыпается плотным слоем песка, после чего на него выкладываются трубы (здесь нужно помнить о необходимости соблюдения уклона). В местах подключения труб необходимо устанавливать смотровые люки. Не помешает установить в трубопровод обратный клапан, который предотвратит возврат стоков во внутреннюю канализационную сеть.
Как отразить все элементы коммуникаций на чертеже
Для того чтобы справиться с такой задачей, вам потребуется программа для создания графических рисунков, эскизов и схем. Можете открыть любую из арсенала строительных программ, дополненных такой функцией, или ту, с которой вы знакомы.
Перед разработкой аксонометрии подготовьте план здания, квартиры или другого помещения с коммуникационными сетями.

Начертить все не так уж и сложно, особенно если у вас имеется опыт работы с инженерными программами. На эскизе отражают все трубы, показанные на плане дома. Их переносят в электронную версию аксонометрической схемы и отражают под углом в 45 градусов.
Важно! Это правило не распространяется на горизонтальные участки. Линии оставляют в неизмененном виде
Отображение коммуникаций на чертеже
При работе с проектом внутреннего водоснабжения и водоотведения готовятся общие чертежи, на которых совмещают водопровод и канализацию. На аксонометрических схемах эти сети всегда разделяют. Горизонтальные участки сетей переносятся на проекцию горизонтально. На плане стояки располагаются вблизи обслуживаемой группы приборов, обозначаются крупными точками. На схеме они строятся вертикально. Стояк, наиболее удаленный от ввода, изображается полностью. Остальные элементы выполняют частично, указывая их марку. Вертикальная прорисовка стояков позволяет отобразить установленные на них вентили.
Детали системы, отображенные на проектном плане вертикально, рисуются под углом 45°. Согласно трассировке подводка холодной воды прокладывается в 0,3 м над полом, располагается с уклоном 0,002 в сторону стояка. Такая позиция необходима для стока жидкости. Соединение с водоразборной арматурой выполняется вертикально.
Определение аксонометрической схемы отопления
Аксонометрия — это один из разделов прикладного черчения, который изучает, рассматривает и предоставляет возможность получить достаточно точные изображения любых предметов в двух- или трех проекциях. Прямоугольная аксонометрическая проекция – это когда прямые, которые проецируют изображение предмета, расположены перпендикулярно аксонометрической плоскости проекции. Прямоугольная проекция включает в себя изометрическую и диметрическую. Если угол проекции не равен 90°, то такая проекция называется косоугольной аксонометрической. Она же включает в себя фронтальную диметрическую и триметрическую проекции.

Отсюда следует, что аксонометрическая отопительная схема – это любая схема любого отопления много- или мало этажного дома, выполненная в аксонометрии, а не в одной плоскости. Это помогает более наглядно представить себе разводку и другие элементы системы отопления в реальном измерении. При таком подходе к отображению элементов отопления проецирование каждого объекта выполняется следующим образом:
- Элемент располагается на схеме соответственно всем трем осям координат;
- Определяется «картинная плоскость» – на нее будет проецироваться элемент. При этом «картинная плоскость» не должна проходить параллельно ни одной из координатных осей;
- Проецируемый узел или элемент полностью переносится на схему.
Важно: Так как все оси координат не проходят параллельно картинной плоскости, изображение проекции объекта будет иметь разность в реальных и отображаемых размерах в любом масштабировании
Правильно составленный аксонометрический чертеж схемы отопления

Требования к составлению чертежей отопительных и других систем жилого или промышленного здания определены в ГОСТ 21.602-2003. Все отопительные элементы и узлы согласно ГОСТ имеют свои обозначения: это маркировка и порядковый номер, включенные в чертеж. Используются следующие обозначения:
| Элемент или узел | Маркировка |
| Отопительный стояк | Ст |
| Главный отопительный стояк | Гст |
| Компенсатор | К |
| Горизонтальная трубная разводка | ГВ |
| Термометр | Т |
| Манометр | Р |

Согласно ГОСТ 21.206-93 системы трубопроводов обозначаются графически. Это относится к таким узлам:
- Общий трубопровод;
- Вертикальный стояк, направленный вниз;
- Вертикальный стояк, направленный вверх;
- Гибкий трубопровод;
- Трубное пересечение без соединения;
- Простое соединение трубопровода или его элементов;
- Соединение трубопровода или его элементов фланцевое;
- Муфтовое резьбовое соединение;
- Муфтовое соединение быстроразъемное;
- Раструбное соединение.
Обозначения запорной арматуры, радиаторов и других элементов отображены в ГОСТ 21.205-93. Например, такие, как:
- Умывальник;
- Ножная ванна;
- Унитаз;
- Терморегулятор обогрева;
- Душевая сетка;
- Осушитель воздуха.
Фрагмент ГОСТ 21.205-93 по обозначениям запорной арматуры
Любую аксонометрию невозможно отобразить стандартными средствами, разрешенными в ГОСТ, и для этого существуют дополнительные требования и разрешения. Например:
- Отметки высот и уровней можно выносить за пределы элемента или указывать прямо на контурах объектов;
- Аксонометрический чертеж схемы отопления с нижней разводкой или любой другой схемы можно выполнить в масштабах 1:50, 1:100 или 1:200.
Что такое коллекторная разводка труб
В коллекторных трубах отопления трубы отопления подводятся к радиаторам отопления от единого распределительного устройства. Узел дозирования (коллектор) представляет собой устройство с одним входом и несколькими выходами теплоносителя. Каждый выход теплоносителя (воды) независимо закрывается запорным вентилем. То есть при необходимости можно отдельно отключить любой радиатор системы отопления, независимо от остальных.
Распределение тепла от коллектора к радиаторам осуществляется с помощью гидравлических труб, подходящих для систем отопления. Используется для отопления:
- стальные трубы для отопления,
- металлопластиковые трубы,
- полиэтиленовые и полипропиленовые трубы (горячее водоснабжение),
- медные трубы.
Трубы отопления соединяются специальными приспособлениями, называемыми фитингами. Отопительные трубы могут иметь один или два типа присоединения. Так соединяются металлопластиковые трубы с обжимными фитингами и пресс-фитингами. Полипропиленовые трубы соединяются приварной арматурой. Медные трубы подключаются к пресс-фитингам и компрессионным фитингам. Стальные трубы соединяются классическим резьбовым соединением на литых или латунных фитингах.
Аксонометрическая схема
| Рабочие чертежи узлов трубопроводов. |
Аксонометрические схемы и рабочие чертежи узлов технологических трубопроводов, как правило, разрабатываются для объектов, имеющих большое количество трубопроводов и сложную технологическую разводку, для труб с диаметром условного прохода 50 мм и выше.
Аксонометрическая схема газопровода ( рис. 51) дополняет планы и разрезы и представляет собой сеть трубопроводов, вычерченную без стен. Схема обычно вычерчивается без масштаба и поэтому не может быть использована для подсчета длин трубопроводов. По схеме уточняется направление трубопроводов относительно плана и разреза, уточняются диаметры труб. По схеме получают представление о всей сети, о положении запорной арматуры, деталей и взаимной связи элементов.
Аксонометрические схемы дают наглядное представление о расположении трубопроводов водоснабжения в зданий, о диаметрах труб и направлении их уклонов, о местоположении переходных муфт, запорных вентилей, задвижек, кранов и другой арматуры на трубопроводах, а также о местах спусков воды из систем водоснабжения.
| Аксонометрическая схема сложного узла трубопроводов ( фронтальная косоугольная изометрия. |
Подобные аксонометрические схемы довольно несложно выполнить; вместе с тем они весьма полезны при конструировании опор для сложных узлов трубопроводов, а также помогают избежать ошибок при рабочем проектировании.
| Планы сетей канализации. |
Аксонометрические схемы канализационных сетей не делают, а дают разрезы по канализационным трубам, питающим каждый канализационный стояк. На рис. 228 приведен чертеж разреза по канализационным трубам канализационного стояка КС-П.
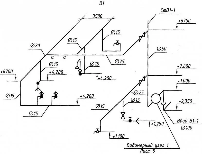
Аксонометрические схемы подающих и обратных трубопроводов ( верхняя и нижняя разводки) изображены на фиг. На схемах показаны запорные вентили, задвижки, переходные муфты и воздухосборник и проставлены диаметры труб в миллиметрах. Уклоны труб указаны стрелками. Главный стояк заканчивается воздухосборником, в котором собирается воздух, попавший из теплофикационной сети.
Если аксонометрические схемы воздуховодов имеются в проекте, составлять их вторично не следует. В этом случае целесообразно лишь внести в проектные схемы необходимые уточнения, обусловленные произведенными замерами.
Пример аксонометрической схемы системы вытяжной вентиляции ВЗ столярной мастерской учебно-производственного комбината приведен на рисунке 18.29. Система обеспечивает отсосы от трех станков и напольный. Пылевой вентилятор типа ЦП7 — 40 № 5, исполнение Б мощностью 7 5 кВт обеспечивает работу системы, выброс опилок и стружки в циклон типа Ц-800, воздуха — в атмосферу.
Вычерчивают аксонометрическую схему сети с нанесением на ней циркуляционных труб. При этом в жилых зданиях с чис лом этажей до 4 включительно ( если не проектируются поло-генцесушители) следует предусматривать только магистральные циркуляционные трубы, во всех прочих случаях Циркуляцию делают и в стояках.
| Планы I ( а и II ( б этажей, план подвала ( в и план чердака ( г с нанесением элементов системы отопления ( римские цифры в кружках — номера стояков. |
Вычерчивают принципиальную аксонометрическую схему системы отопления. Стояки, которые затеняют чертеж, могут быть вынесены, а на схеме показаны гол.
По аксонометрической схеме и приложению 3 определяют коэффициенты местных сопротивлений для каждого участка. Местное сопротивление относят к тому из смежных участков, на котором скорость воздуха больше.
Построение аксонометрических схем
В данной статье мы расскажем, как правильно и быстро строится аксонометрическая схема канализации. В первую очередь открываем какую-нибудь программу, предназначенную для черчения.Перед тем, как будет построена аксонометрия, необходимо, чтобы имелся план здания, квартиры или какой-либо комнаты с канализационными сетями.
Чертится все довольно просто и банально, все трубы, которые имеются на плане необходимо перенести на свой чертеж, однако все должно быть под углом 45 градусов. Не распространяется это правило лишь для горизонтальных участков, аксонометрия такой линии остается в таком же положении. Наиболее быстрым вариантом построения является копирование всего чертежа, после этого производиться вставка, а после чего выбирается команда повернуть. После выбора этой функции нужно задать ей значение, оно будет равняться 45 градусов, в программе просто пишется число. После этого в тех местах на плане, где стоят стояки, они показываются в виде точки, нужно провести вертикальную линию, на все этажи, которые имеются в здании. Для лучшего восприятия рекомендуется показывать этажность здания, а именно показать на чертеже плиты перекрытия, на каждом этаже, не стоит их делать длинными, стоит пользоваться разрывом. Аксонометрическая схема канализации обязательно должна содержать в себе все приборы, которые имеются. Например, писсуар, унитаз, раковины, трапы и другие различные сантехнические приборы.
Аксонометрия водопровода, отопления, канализации
Согласно ГОСТ 2.317-2011 все аксонометрические схемы, относящиеся к санитарным системам водоснабжения, канализации, отопления, строятся в фронтальной (косой) диметрической изометрии с левой системой координат.

Следовательно, размеры по оси z будут без искажений, а по оси y – наполовину.
Вы спросите, какое отношение эта конструкция имеет к трубам и сантехнике? А теперь представьте, что плоскости по аксонометрическим осям – это стены вашего дома или квартиры. Трубы водопровода, водопровода, канализации и отопления проходят вдоль стен вертикально или горизонтально. Это означает, что мы можем рисовать пути труб в аксонометрии, не показывая самих стен.
Это даст очень четкие чертежи того, как и где установить водопроводную проводку. Кроме того, на изометрическую схему в условных обозначениях нанесена сантехника, нанесены диаметры труб, даны пояснения, составлены таблицы по материалам и оборудованию для схем. В результате у вас в руках подробное руководство по установке сантехники в доме (квартире), практически исключающее ошибки монтажа.
Определение и назначение аксонометрической схемы водопровода
Аксонометрическая схема водопровода – это визуальная проекция сети коммуникаций в системе осей координат x, y, z. По стандартам ГОСТ она выполняется во фронтальной изометрии с левой системой координат. Изображение выполняется в масштабе 1:100 или 1:200. Оно чертится вручную или с использованием специальных компьютерных программ. Проекция водопровода по всем осям откладывается без изменений размеров. Аксонометрия водоснабжения упрощает работу монтажникам. Они легко определяют места расположения приборов, диаметр труб разводки и стояков. Также документ предназначен для выполнения расчета.
Аксонометрия в ПТ: правила выполнения
Для примера возьмем проект спринклерной системы пожаротушения для торгово-развлекательного комплекса.
Ключевые моменты такого проекта:
- трубная разводка;
- расстояние между спринклерными оросителями;
- тип крепления трубопровода;
- комплект автоматики системы ПТ.
Нас интересует, главным образом, разводка сети трубопровода.
Здесь учитываются и элементы чертежа для насосной станции, фланцы опорожнения сети и т.п.
Аксонометрическая схема такой АУПТ может выглядеть так.
ГОСТ 2.317-69 устанавливает порядок и правила выполнения аксонометрических проекций для инженерных систем.
При выполнении аксонометрии в пожаротушении нам не обойтись без известного СП 5.13130.2009.
Расстояние между оросителями рассчитываем согласно НПБ 88-2001.
Стандарт по проектированию трубопроводов – ГОСТ 10704-91.
На эти нормативы мы и ориентируемся при создании трехмерной проекции трубопроводной сети.
Для всех сложных строительных чертежей, поэтажных схем высотных зданий,
строений со сложной системой вентиляции – везде, где имеется сложная трубная разводка,
в состав проектной документации обязательно включается аксонометрическая проекция.
Так, в соответствии с ГОСТ 2.317-2011, подобная проекция строится во фронтальной изометрии, т.е. в трех плоскостях, в левой системе координат.
Пункт 3.2.1 документа ГОСТ 21.602-79 также сообщает, что необходимо учитывать коэффициент искажения вдоль осей, принятым условно за единицу.
Это любые чертежи отопления, канализации, санитарно-технических систем водопровода и т.д.
Аксонометрическая схема включает два вида: полноценный чертеж и эскиз.
Полноценный чертеж выполняем по всем требованиям ГОСТов.

Особенности проектирования
Аксонометрия водоснабжения необходима для объектов, имеющих большую протяжённость трубопроводов и элементов водозабора
При её составлении необходимо уделить тщательное внимание указанию расположения приборов. Если на схеме наблюдается наложение друг на друга, применяется вынос изображения
Разрывы сетей изображаются пунктиром. В отдельных случаях масштаб может быть изменён в большую сторону (например, 1:50).

Аксонометрический чертёж, созданный на бумагеИсточник studfile.net
Там, где водопроводная магистраль вводится в строение, делается отметка об относительной поверхности почвы. Ввиду того, что она находится ниже уровня пола, циферное значение ставится со знаком минус. При наличии напорного резервуара или водяной помпы, в чертёж вносятся относительные пометки. Места прохождения полимерной трубы через плиты перекрытия защищаются гильзой, что также отмечается на схеме.
Условные обозначения вентиляции на чертежах
Обозначение
Наименование
Код обозначения
На планах и разрезах
На схемах
Воздуховод, общее обозначение
1.1.01
Воздуховод круглого сечения
1.1.02
Воздуховод прямоугольного сечения (*вторая цифра — высота канала)
1.1.03
Вентиляционный канал (*вторая цифра — высота канала)
1.1.04
Воздуховод круглого сечения, идущий в видимую сторону
1.1.05
Воздуховод круглого сечения, идущий в невидимую сторону
1.1.06
Воздуховод прямоугольный, идущий в видимую сторону
1.1.07
Воздуховод прямоугольный, идущий в невидимую сторону
1.1.08
Воздуховод гибкий
1.1.09
Воздуховод теплоизолированный
1.1.10
Воздуховод с огнезащитным покрытием ЕI150 — предел огнестойкости
1.1.11
Акустическое покрытие снаружи или внутри воздуховода
1.1.12






































